随着多链时代的到来,市场对跨链的需求也愈发强烈,一套安全、高效且通用性好的跨链技术方案迫在眉睫。而基于Solana的全新跨链基础设施Swim Protocol正建立一个跨链流动性平台,希望实现不同区块链网络之间的互操作性,让用户资产真正流动起来。
Ethereum市场蛋糕被抢,Swim Protocol为何值得关注?
随着去中心化金融协议和智能合约在近两年内呈指数级的增长,Ethereum成了最大的赢家。在2020年初,锁仓在Ethereum上的资金约在10亿美元。而仅仅一年之后这个数字就增长到超1450亿美元。例如Maker、Aave、Compound、Uniswap、Liquity等著名去中心化金融协议开始在Ethereum上萌芽,并帮助Ethereum建立了庞大的市值,成为最大的DeFi生态公链。
但在最近几个月里,这一切在慢慢发生着变化。由于Ethereum一秒只能处理十五笔交易,这使得其网络拥堵时,一笔交易的手续费用甚至超过了交易价值本身。不仅如此,动辄十分钟甚至数十分钟的等待时长以及毫无征兆的拥堵也都刺激着用户带着资产迁移。其中,例如Binance Smart Chain凭借性能优势已经迅速发展成第二大网络,并且已经最大的智能合约链之一。
同样,快速增长并逐渐成为最大的智能合约之一的还有Solana。尽管Solana出现时间较晚,但凭借着其高吞吐量(TPS)、低交易费、以及“次秒级”(sub-second)的交易确认功能等独特优势, Sonala的锁仓价值迅速超过16亿美元。
很明显,Ethereum的表现已经逐渐不能满足持续增长的智能合约。如Pancakeswap、Venus、Trenchess等项目的出现,以及Ethereum的的原生项目纷纷在其他区块链上运行也证明了这一点。同时,TVL(Total Value Locked)总锁定价值的下降也再次证实。

随着越来越多的用户开始不满意Ethereum的延迟,市亟需一种性能更好的解决方案。在智能合约像今天这样的大规模普及前,很多人会选择通过中心化交易所进行「跨链」,这比十五分钟以上的等待要快的多,只需要将不同链的资产进行买卖和充提就可以轻松的完成「跨链」,而这也成了中心化交易所的一大优势。
但随着监管和安全性的双重风险的加剧,这种「跨链」方式的不足逐渐变得不被人们接受。
Swim Protocol如何让用户资产流动起来?
当一条链无法满足无法满足多个需求或部分刚需的时候,跨链的重要性开始凸显。就像显示世界一样,如果没有什么链接起来,南半球和北半球甚至不会知道有对方的存在,更别提发生交互。这就是所谓的孤岛效应。而Ethereum就像一艘一次只能坐十五个人的小船,不断往返于南北半球之间。现在,南北半球的人在寻找喷气式飞机了。
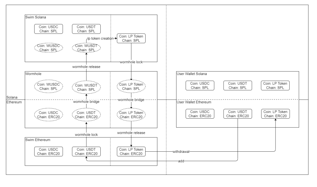
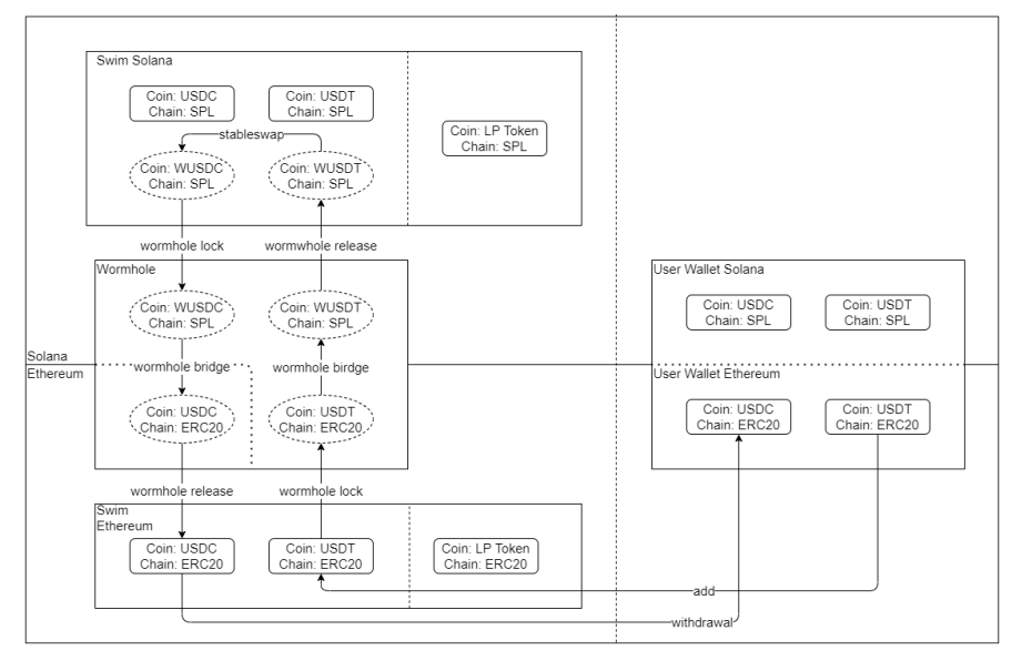
与目前市场POA(Proof of Authority)、HTLC(Hash Time Locked Contracts)和Conditional Transfers这些常用的跨链模式不同,Swim建立了一种新型的方式来实现高效安全的跨链——Whormhole & AMM。

Wormhole是POA验证中的一种,其使用的跨链预言机叫做Guardians,由顶级Solana验证人和其生态构建者组成,其激励措施由Solana和Serum组成,尽管guardians数量较少,但由于全部由Solana生态成员参与,所以其安全性在生态内得到了统一的保护,而且就验证速度而言,Wormhole可能是一个标志性的见证。并且,未来Wormhole还将对BSC和Terra进行支持。
而根据Swim跨链的工作原理,当用户批准Ethereum和Solana钱包链接至Swim合约后,通过将ERC-20和SPL的USDT和USDC组成LP,来自Ethereum的资产会被锁定在流动性池子中,当池子确认后SPL的LP代币就这样被铸造成功了。通过铸造LP的方式,Swim可以利用Wormhole极大的提高流动性以及交易速度。

不仅如此, Swim在Curve的基础上进行了升级,在跨链稳定币交换和滑点偏移上有了大幅的性能提升。并且,Swim通过价格预言机可以利用不同链上的本地资产固有流动性从而创建出更高的流动性。而流动性提供者得到的奖励也是浮动的,这些浮动可以通过投票或其他调整参数的方式来控制。
而当Ethereum和Solana的钱包批准Swim合约后,指定的ERC-20资产从Ethereum钱包发送到Swim流动池,Ethereum上的智能合约通过Wormhole将收到的ERC-20资产发送到Solana上的Swim智能合约,在扣除经过算法计算的滑点后,来自Ethereum的资产成功的跨入Solana钱包中。
值得一提的是,即使是Ethereum和Ethereum的资产兑换也可以通过Wormhole在Solana上的Swim进行交换并且提升交易效率。

稳健的代币经济模型对于项目长久发展和维持社区利益至关重要。Swim Protocol的经济模型中,代币SWIM总量为十亿枚。其中,35%用于流动性挖矿的奖励,第一年会挖出10%;生态伙伴关系和生态激励分配总量的30%;IE0通过TGE平台分配10%;团队则持有20%,锁仓一年,并且在之后的36个月线性解锁;种子轮投资者则拥有剩下的5%,并锁仓一年,在之后的36个月中线性解锁。
此外,在治理方面,Swim Protocol团队提出了在一段合理的时间后,当社区有足够的时间完成了审查和讨论时,Swim团队愿意向着DAO的治理模型过度,由SWIM持有者投票决定修改时间。
结语
由此可以看出,在旧链性能的增长无法满足市场规模扩张的当下,Swim Protocol针对跨链资产交换问题确实给出了一套目前更优秀的解决方案,不仅在时间效率上大幅提升,其特定于平台的原生代币可支持封装资产、中心化交易所,以及某些跨链自动化做市商。未来,Polygon、Avalanche等其他网络的原生资产都可以通过Wormhole进入Solana网络进而提升资产流动效率,这种方式有助于支持跨链中继交易请求,对DeFi市场来说也是高优先级的需求。
该项目会在未来一段时间上线,预计会获得多方面较多关注。尤其是当下Solana这匹公链黑马风头正盛,Swim Protocol具有成为Raydium或者Serum的潜力。

